Views: 0 Author: Site Editor Publish Time: 2026-04-29 Origin: Site
Cold pad-batch dyeing involves immersing the fabric in a dye liquor containing dye and alkali, immediately rolling it up, sealing it with plastic film, and stacking it for a certain period of time while rotating it slowly and continuously, allowing the dye to diffuse and fix. Finally, the fabric undergoes post-treatment on a pad-dyeing machine or a flat washing machine.
Cold pad-batch dyeing is particularly suitable for dyes with strong reactivity, low directness, and fast diffusion rates. This method offers advantages such as simple equipment, low energy consumption, and good leveling properties. Furthermore, because dyeing is carried out at room temperature, dye hydrolysis is minimal. In addition, the longer pad-batch time results in higher dye fixation. Cold pad-batch dyeing is an intermittent processing method; post-dyeing washing and processing can be carried out continuously.
This method is particularly suitable for medium and small batch production and multi-variety dyeing. The basic process flow is as follows:
Pad-in dye liquor → Rolling → Padding (continuously and slowly rotating) → Post-treatment (same bath pad-dyeing)
Cold pad-batch dyeing processes have specific requirements for dye selection, generally favoring dye systems with strong reactivity, good diffusion properties, and efficient color fixation under alkaline conditions.
The most suitable dyes for cold pad-batch processes are reactive dyes, including:
X-type reactive dyes (high reactivity, fast dyeing speed)
K-type/KE-type reactive dyes (good controllability, suitable for uniform dyeing)
M-type/KN-type reactive dyes (milder reaction, suitable for long-term padding)
In addition, some high-affinity direct dyes can also be used for light-colored or special-style products, but their application range is relatively limited.
Dyes unsuitable for cold pad-batch include disperse dyes, vat dyes, acid dyes, and cationic dyes.

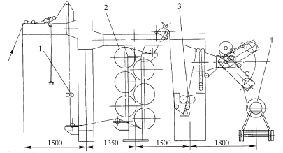
Cold pad-batch dyeing equipment mainly consists of a proportioning mixing pump, padding tank, padding car, and fabric winding device. The equipment configuration is shown in the diagram below:
Fabric Feeding Device
Drying Cylinder
Uniform Pading Car
A-Frame

The fabric is fed in by the feeding device and ironed through the drying cylinder to ensure a smooth surface and maintain uniform temperature and humidity, preventing color differences. The dye bath padding section typically uses a uniform padding car and a small-capacity immersion tank to accelerate dye bath turnover and prevent dye hydrolysis. The winding is performed by a centrally driven active roller, ensuring a smooth roll-up of the dyed fabric.
Furthermore, to ensure the stability of dyed product quality, the cold pad-batch dyeing equipment is equipped with a dye and alkali mixing system. The dye bath and alkali solution are prepared separately in their respective storage tanks according to the process formula. After being thoroughly mixed, they are mixed and fed into the padding tank at a set ratio using a proportioning metering pump.
Modern cold-rolled batch dyeing equipment also supports computer-optimized processes. By inputting production data (such as batch size, roll yield, speed, dye usage, etc.), operators can obtain detailed production information and further optimize production plans to ensure dyeing stability and quality.
Pick-up Residue
Pick-up residue refers to the amount of dye liquor carried on the fabric after padding, usually expressed by the following formula:
(Formula not provided)
Dyeing Concentration
Dyeing concentration in cold pad-batch dyeing is usually expressed in g/L, that is, the number of grams of dye contained in 1L of dye liquor.
To improve dye reactivity, a strong alkali is usually required. According to experimental data, the order of alkali strength is as follows (testing conditions: concentration 10 g/L, temperature 25℃)
aOH > a3PO4 > a2SiO3 > a2CO3 > aHCO3 The corresponding pH values are 13.4, 11.4, 10.4, 10.3, and 8.4, respectively.
Different types of dyes require different alkalis. For example, X-type dyes typically use soda ash, K-type and KE-type dyes use caustic soda, and KN-type and M-type dyes use trisodium phosphate, caustic soda, or a mixture of alkalis.
Furthermore, water glass, as a weak alkali, also contributes to the stability of the dye liquor and the fixation rate. The amount of water glass used should be appropriate; excessive use may lead to excessively high dye liquor viscosity, affecting dye diffusion.
Pad-in residue must be strictly controlled in cold pad-batch dyeing. It is generally recommended that the pad-in residue for cotton fabric be controlled at around 60%. An excessively high pad-in residue may lead to excessive liquid residue on the fabric, resulting in uneven dyeing and uneven color variations.
After padding with dye liquor, the fabric roll should be rolled up to ensure it is flat and free of air bubbles between layers. During the stacking process, the fabric roll needs to be sealed and wrapped with plastic film, and rotated slowly and continuously to prevent surface moisture evaporation or dye dripping, which would lead to uneven dyeing.
To improve the dyeing efficiency of less reactive dyes, a heat-insulated stacking method can be used. This involves uniformly heating the fabric with steam after rolling and then placing it in a heat-insulated steam oven for stacking.
Cold pad-batch dyeing is a highly efficient, energy-saving dyeing method suitable for multi-variety, small-batch production. Through reasonable equipment configuration, optimized process flow, and strict technical control, the stability and consistency of dyeing quality can be ensured. Mastering key technical points, such as the selection of alkali agents, control of roll-up ratio, and the roll-batch process, will greatly improve the dyeing effect.
content is empty!